文/北京集佳知識產權代理有限公司 蔣靜靜
對于技術方案是在結構上進行改進的申請,結合圖示理解技術方案是非常有利的手段。同理,在答復審查員的審查意見通知書時,也應當化整為零,具體分析審查員所引用的對比文件中所提及的結構的每一個細節,從而找出審查員對于案例的技術方案和對比文件的技術方案的理解中的錯誤。
案例分析
一種發明名稱為用于訓練人的下肢和/或上肢的專利申請,其原始公開的權利要求1的內容如下:
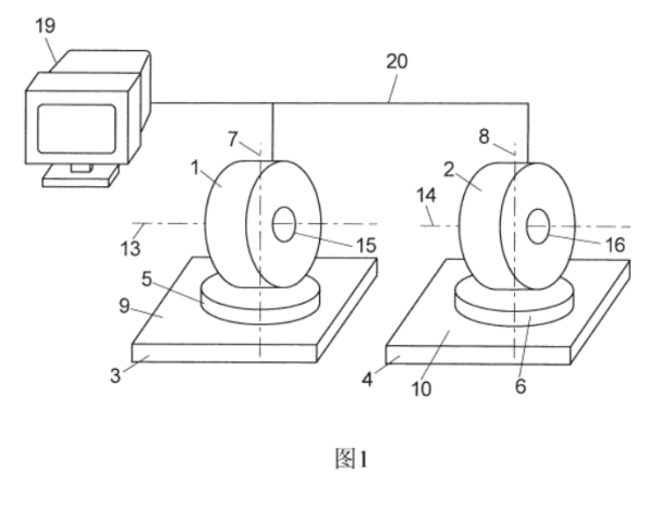
一種用于訓練人的下肢和/或上肢的設備,包括至少兩個運動元件(1,2),所述運動元件設置在基礎元件(3,4)上,其中所述運動元件(1,2)分別具有轉動軸線(13,14),操作元件(21-25)能夠分別圍繞所述轉動軸線運動,其中所述運動元件(1,2)分別彼此無關地相對于所述基礎元件(3,4)可圍繞第一運動軸線(7,8)運動,其中所述第一運動軸線(7,8)基本上垂直于所述基礎元件的延伸面(9,10)伸展,
其特征在于,
每個運動元件(1,2)具有自身的驅動器,以便使所述操作元件(21-25)圍繞所述轉動軸線(13,14)轉動,并且所述設備具有控制元件(19),所述控制元件能夠個體地操控每個驅動器,以便實現每個驅動器與另一驅動器無關的運動。
審查員在第一次審查意見通知書中引用了兩篇對比文件1即對比文件1(US9320935B1)、對比文件2(DE102004020006A1)和對比文件3(US4973046A)來評價案例的創造性。
代理人在收到該審查意見后,先是分析了審查員用來評價權利要求1的創造性的對比文件1和對比文件2,初步判定權利要求1的技術方案已經被對比文件1和對比文件2公開。因此,需要修改權利要求1。代理人認為權利要求6的技術方案并未被對比文件1和對比文件2公開,但是審查員引用了對比文件3案例的圖示與審查員所引用的對比文件的圖示進行了直觀的對照。


案例的圖1和圖2

對比文件3的 圖3
在審查意見通知書中,審查員聲稱對比文件3中的偏心軸42對應于案例的權利要求5和6中的技術特征“中間元件”并且對比文件3中的管式緊固套筒對應于案例的權利要求5和6中的“第一運動軸線”。然而,審查員并未指出對比文件3中的哪個技術特征對應于權利要求5和6中的“第二運動軸線”。代理人此時已經意識到,審查員并沒有透徹的理解案例的技術方案和其所引用的對比文件3的技術方案。
為此,代理人與審查員進行了電話溝通,溝通后更加佐證了代理人的判斷。審查員認為偏心軸42的縱向方向對應于案例的權利要求5和6中的“第二運動軸線”。這完全不符合事實。根據對比文件3的圖3,顯然,如果將管式緊固套筒47認為等同于案例中的第一運動軸線,那么垂直于圖層的方向(在附圖中的用紅圈標明的方向)才等同于案例中的第二運動軸線。然而,可以明確地從對比文件3的圖3中看到,沿著偏心軸42的方向(在圖層的平面中豎直的方向)完全不同于案例中的“第二運動軸線”。此外,顯然偏心軸42根本不可能圍繞垂直于圖層的方向旋轉。對比文件3完全沒有公開權利要求5和6中的技術特征。
代理人考慮到如果不修改權利要求,如果審查員仍舊堅持己見,有可能會直接駁回本案。因此,為了使權利要求1所限定的特征更加明確地與對比文件3區別開并且為了讓審查員便于理解,代理人對權利要求1進行了修改。修改后的權利要求1包括如下技術特征:
在所述基礎元件(3,4)和所述運動元件(1,2)中的至少一個運動元件之間分別設置有中間元件(17,18),其中每個中間元件(17,18)與另外的中間元件(18,17)無關地能夠圍繞所述第一運動軸線(7,8)相對于所述基礎元件(3,4)運動,并且
所述運動元件(1,2)相對于相應的中間元件(17,18)能夠彼此無關地分別圍繞第二運動軸線(11,12)運動,其中所述第二運動軸線(11,12)基本上平行于相應的所述基礎元件(3,4)的延伸面(9,10),基本上垂直于所述第一運動軸線(7,8)且基本上垂直于所述轉動軸線(13,14)伸展。
在提交針對第一次審查意見通知書的答復后,審查員不久后下發了第二次審查意見通知書。
審查員并不接受代理人在答復第一次審查意見通知書時所陳述的意見,并且堅持認為對比文件3公開了權利要求6的技術特征,并且審查員也在對比文件3的圖3中進行了相應的標識。

代理人意識到,審查員并不承認自己對對比文件3與案例的方案理解有誤,并且陷入在自己的邏輯閉環中。代理人此時要做的,就是將對比文件3的整體結構細化,以便讓審查員認識到其在理解中的錯誤。 審查員認為對比文件3中的曲柄軸42相當于案例的權利要求1中的中間元件。踏板軸43相當于案例的權利要求1中的運動元件。球體63相當于案例中的轉動軸線。此外,審查員認為曲柄軸42能夠圍繞沿著管狀的緊固套筒47的方向(參見審查員在對比文件3中所標識的第一運動軸線方向)轉動,而踏板軸43可圍繞中間元件的縱軸線42(參見審查員在對比文件3的圖3中所標識的第二運動軸線方向)。
根據對比文件3所記載的內容,踏板軸與曲柄軸容納在緊固套筒54中。緊固套筒54構成為可滑動地容納曲柄軸42和踏板軸43的緊固端部。此外,踏板軸43通過緊固銷57固定在緊固套筒中。由此可見,設置緊固套筒的目的僅僅是為了調節踏板軸和曲柄軸之間的相對位置以便滿足不同身材的訓練人員。此外,在對比文件3的圖3中也可以看出,即使在緊固套筒54與曲柄軸42的結合部分中,也設置有緊固孔55,由此可見,緊固套筒與曲柄軸42也是通過緊固銷結合的,否則在運動過程中一旦發生部件脫離,會對訓練人員造成危險。由此可見,在緊固套筒54分別通過緊固銷與踏板軸43和曲柄軸42連接時,踏板軸43根本不可能圍繞曲柄軸42的縱軸線進行旋轉運動。審查員認為曲柄軸42的縱軸線等同于案例的權利要求1中的第二運動軸線是毫無依據的。
再者,審查員認為球63等同于案例的轉動軸線。在審查員認為踏板軸43相當于案例的權利要求1中的運動元件的情況下,對比文件3中的踏板軸根本不可能圍繞球63轉動。然而,即使將沿著球63的垂直于圖層的方向視為轉動方向,將踏板58視為運動元件,對比文件3也僅僅是公開了踏板58和踏板軸43的橫向角度關系可通過松開調節夾具連桿的翼形螺釘64來調節。在擰緊螺釘后,踏板58根本不可能圍繞垂直于圖層的方向轉動。因此,對比文件3中并沒有公開“在所述第一基礎元件(3)和和所述第一運動元件(1)之間設置有第一中間元件(17),并且在所述第二基礎元件(4)和所述第二運動元件(2)之間設置有第二中間元件(17),其中所述第一中間元件(17)與所述第二中間元件(18)無關地能夠圍繞所述第一運動軸線(7)相對于所述第一基礎元件(3)運動,并且所述第二中間元件(18)與所述第一中間元件(17)無關地能夠圍繞所述第一運動軸線(8)相對于所述第二基礎元件(4)運動”。

此外,審查員將沿著豎直方向的平面,即殼體的側面視為案例中的基礎元件的延伸面。顯然,如果將垂直于圖層的方向視為轉動軸線,轉動軸線并非如在案例的圖2中所示出的那樣不僅平行于基礎元件的延伸面而且居中地沿著運動元件伸展,而是與踏板軸43垂直。然而,在案例中,旋轉軸線平行于基礎元件的延伸平面并且居中地伸展穿過所述運動元件。因此,在對比文件3中,無論沿著球的哪個方向的軸線,都不可能同時平行于基礎元件的延伸面并且居中地伸展穿過踏板軸。對比文件3沒有公開修改后的權利要求1中的“所述轉動軸線平行于所述基礎元件的延伸面并且居中地沿著所述運動元件伸展”。
再者,對比文件3中完全沒有公開左右兩個曲柄軸42能夠單獨地通過中間元件來調節。對比文件3沒有公開各個曲柄軸對于待訓練的患者的相應的生理需求的單獨的可調節性。相反,對比文件3公開了用于患者的左腳和右腳的左右兩個曲柄軸的共同的調節方案。因此,對比文件3中沒有公開修改后的權利要求1中的“第一運動元件(1)設置在第一基礎元件(3)上,并且第二運動元件(2)設置在第二基礎元件(4)上,其中所述第一基礎元件(3)和所述第二基礎元件(4)在機械上完全彼此分開”。
代理人在提交了對第二次審查意見通知書的答復后,審查員終于意識到自己沒有正確地理解對比文件3的方案。但是,審查員雖然接受了代理人所陳述的觀點,不再引用對比文件3來評價本案的創造性,但是又引用了一篇新的對比文件即對比文件4(US9044630B1)來評價權利要求1不具有新穎性。
審查員認為對比文件4公開了案例的權利要求1中的所有技術特征。并且審查員認為對比文件4中的保持環96對應于案例的權利要求1中的中間元件17,18,對比文件4中的曲柄頭33,34(對應于案例的權利要求1中的運動元件1,2)能夠圍繞第二轉動軸線57相對于保持環96轉動。
無獨有偶,代理人在分析了對比文件4之后,發現審查員再次錯誤地理解了對比文件4的技術方案。
對比文件4公開了一種增加使用者手臂和腿的運動范圍的機器,其中該機器包括底板94(對應于案例權利要求1中的技術特征“基礎元件(3、4)”),所述底板通過螺釘固定到基座45的頂部,曲柄頭34的殼體90靠在底板94上并通過保持環96保持在其位置中,保持環96通過帶凸肩的機械螺釘98固定在底板上,所述機械螺釘延伸穿過殼體90的面板102中的開口100。通過塑料軸承按鈕104,殼體90被允許在基座45上圍繞豎直軸線83旋轉。 為此,代理人以對比文件4的圖5A和圖9來詳細描述三個旋轉軸線之間的關系。

從對比文件4的圖5A中可見,審查員認為對比文件4中的沿著豎直方向的軸線等同于案例的權利要求1中的“第一運動軸線”,踏板55圍繞其轉動的轉動軸線等同于案例的權利要求1中的旋轉軸線,因此,通過銷57限定的軸線(以紅色虛線在圖5A中示出)等同于案例的權利要求1中的第二運動軸線。
然而,根據對比文件4所公開的內容,保持環被固定在底板94上。因此,保持環96根本不可能圍繞第一運動軸線轉動,這與案例中的技術方案相抵觸。因此,對比文件4中的技術特征“保持環96”與案例的權利要求1中的“中間元件(17,18)”完全是不同的技術特征。
接下來,分析對比文件4的圖9。

從對比文件4的圖9中可以看到,第二運動軸線位于紅色線框所示出的平面中。然而,螺釘98的肩部接合開口100的邊緣以將殼體90定位在該平面中。顯然,殼體90根本不可能圍繞該平面中的任何軸線轉動。也就是說,對比文件4并沒有公開案例的權利要求1中的技術特征“運動元件(1,2)能夠相對于相應的中間元件(17,18)彼此無關地圍繞第二運動軸線(11,12)運動”。
對比文件4僅僅公開了曲柄的轉動平面能夠圍繞通過銷57所限定的水平軸線來調整。然而,對比文件4中的曲柄不能夠被等同為案例中的“運動元件(17,18)”因為曲柄并非安裝在底板94上而是安裝在殼體90上。
根據案例的說明書第40段所公開的內容,設置中間元件的技術效果是實現運動元件的圍繞水平伸展的軸線的運動,例如以便補償站立面(即例如臺或地板的站立面)的不平坦或站立面的傾斜。對比文件4中的曲柄完全不可能實現案例中的中間元件的作用。
因此,代理人為了更加清楚地限定權利要求1中的技術方案,將如下技術特征補充到了權利要求1中:
所述運動元件(1,2)相對于相應的中間元件(17,18)能夠彼此無關地分別圍繞第二運動軸線(11,12)運動,以便補償站立面的不平坦或站立面的傾斜。
在代理人提交了答復意見后,審查員終于不再針鋒相對,而是接受了代理人的意見,隨后授予了案例專利權。
從這個案例可以看出,對于權利要求中的技術方案涉及結構以及連接關系和運動關系的申請,將附圖中的每一個部件的結構和作用方式研究透徹可以很好地幫助代理人掌握技術方案。此外,代理人要時刻意識到,審查員有很大概率受制于慣性思維,在檢索時僅僅是比較技術特征的文字表述,并沒有深入研究其所檢索的對比文件的細節。這就導致審查員在對對比文件的方案的理解上存在不足甚至是錯誤。通過以圖示為輔助來剖析技術方案,可以幫助審查員快速了解案例和對比文件的區別,促進雙方的溝通,有效地節約審查程序并且加快審查進程。